Subcategories

Advantage GPX 130 Main Assembly Parts

Advantage GPX 130 Drive Assembly Parts

Advantage GPX 130 Fluid Section Assembly Parts (P/N 0509133)

Advantage GPX 130 Cart Assembly Parts

Advantage GPX 130 Filter Assembly Parts

Advantage GPX 130 Prime Spray Valve Assembly Parts (P/N 0507690)

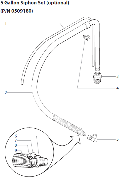
Advantage GPX 130 5 Gallon Siphon Set Parts
Advantage GPX 130 Accessories Parts
NEW PRODUCTS FOR DECEMBER - ADVANTAGE GPX 130 GAS PISTON PUMP